|
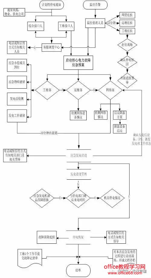
二.核心机房应急发电流程图及岗位责任
三.应急发电机的油品保障措施 发电机正常启动后,需要做到油品及时供应,具体保障措施方案为: 1.确认多家供应商进行油品供应,签署油品供应协议,确保油品的供应充足。 2.油品的供应以应急小组成员通知后开始准备,协议要求是6小时内送货到场。 3.只要进行发电一小时以上,则必须在停止发电后补充满油品,确保发电机随时都是满配油品保障中。 4.油品的零购是属于公安部门的监管,所以分公司提前将资料向公安部门报备,在公司因为特殊原因有零购油品需求,在公安部门已经有分公司备案资料下,每次使用零购油品进行公安部门盖章申请。可以随时进行购买。 四.恢复交流电后的处理措施 1.打开电力室和网络机房空调市电开关,并将调节温度设定为20℃。首先恢复机房制冷系统的正常工作。 2.等供电稳定后(一般在恢复市电10分钟后),闭合主/备UPS设备空气开关,恢复给主/备UPS交流供电。观察并确认UPS转换为交流稳压和浮充状态。 3.闭合客服系统的主空气开关,恢复客服系统的交流供电,并观察设备工作运行情况。 4.观察10分钟后,确保所有网络及设备、UPS设备组工作稳定后,将发电机停止发电,并将情况报告给调度及主管领导。 5.应急小组将发电的物资进行收拾整理存放好,并进行记录发电机的工作时间及油/水/电路的切断。机房的降温设备的关闭确认及物资收拾整理存放好。 6.将处理情况做详细书面记录,请相关人员签字确认并报集团公司信息化系统管理平台上填写相关记录。 五.发电机的日常维护措施 对于柴油发电机来说,由于它不是日常的主要供电设备,所以日常的维护保养主要包括以下几个方面: 1.定期检查和更换柴油过滤器和机油过滤器; 2.定期清理检查进气过滤器,并在固定的周期进行更换(或者根据现场的工况和进气过滤器的透气程度进行更换); 3.定期检查和清理电池组接线柱,保持接线柱清洁; 4.定期检查电池组的充电状态,保证良好的充电效果; 5.定期检查风扇皮带的状态,确保无损伤和处于正常的松紧度; 6.定期检查冷却液的状态,确保满足要求; 7.定期检查或者更换柴油机机油,确保油位正常; 8.冬天寒冷季节要确保机组预热装置正常工作,以便在需要启动发电机时能正常启动; 来源:鹏博士工程 |
